Kitchen helper

Montage leertoren Jindl. Zo eenvoudig is het!

Montage leertoren Jindl

Oorspronkelijk geschreven op 15 april 2024 en aangevuld en verbeterd op 5 januari 2026.

Hoe monteer je een leertoren van Jindl nu precies? Wij leggen je het graag uit. Bij de ontwikkeling van onze leertorens hebben we meegenomen dat het monteren eenvoudig moet zijn. Volgens ons is dat gelukt. En onze klanten zijn het daar mee eens. We laten dan ook graag zien hoe een leertoren van Jindl eenvoudig gemonteerd wordt. In deze blog leggen we het stap voor stap uit, maar in de volledige montagehandleiding van de Jindl leertorens is de uitleg nog gedetailleerder. Deze komt mee met het product, maar kun je hier ook downloaden.

Levering als plat pakketje

Als je een leertoren bij Jindl bestelt, krijg je een klein pakketje. Daar hebben we bewust voor gekozen. Dat scheelt ruimte bij het transport en zo vervoeren we geen lucht. Dit is duurzamer op de lange termijn. Dit betekent echter wel dat je zelf nog even aan de slag moet om je nieuwe leertoren te monteren. 

Mag je een schroefmachine gebruiken?

Het monteren van een leertoren met alleen een inbussleutel is mogelijk. Met een schroefmachine is het echter wel een stuk makkelijker. Heb je een schroefmachine bij de hand, gebruik deze dan zeker. Zorg er wel voor dat je een lage stand hanteert. Bovendien geldt: vast is vast. Zodra de schroef vastzit, is het goed genoeg. Als je langer doordraait kan het zijn dat de schroef juist losser komt te zitten. Dat wil je voorkomen. 

Montage leertoren Jindl standaard

De montage van een standaard Jindl leertoren is heel eenvoudig. Sterker nog, het record staat hier bij medewerkers van Jindl op 3 minuut 27. Dat is super snel, maar daarbij moet aangetekend worden dat de recordhouder het vaker gedaan heeft. Toch moet het in ongeveer tien minuten lukken als je de montage voor het eerst uitvoert. Hier vind je de volledige handleiding van de Jindl standaard leertoren.

De standaard leertoren van Jindl bestaat uit 8 houten onderdelen die je met in totaal 16 schroeven vast zet. Bij dit model geldt dat alle schroeven hetzelfde zijn. Je kunt je dus niet vergissen. 

Dit zit er in het pakket: 

Inhoud pakket leertoren Jindl standaard

Starten met de montage

Zorg ervoor dat je eerst een zijde schroeft.  Schroef de schroeven nog niet helemaal vast. Voor extra stevigheid zijn in de zijpanelen overigens stroken gefreesd waarin de planken komen. Dat is naast extra stevig ook extra handig. Zo monteer je de planken namelijk altijd goed. Pak je de verkeerde, dan past het simpelweg niet.

Montage leertoren zijde 1

Vervolgens doe je hetzelfde met de andere zijde. Vervolgens zet je de leertoren op een vlakke ondergrond en schroef je alle schroeven vast. Zo voorkom je dat de leertoren gaat wiebelen. 

Montage leertoren zijde 2

En dan ben je al helemaal klaar om de leertoren te gebruiken. Dat was best eenvoudig, nietwaar?

Montage 2-in-1 leertoren Jindl

De 2-in-1 leertoren van Jindl is momenteel het meest populaire model. Het grote voordeel is dat je hiervan ook een tafeltje met stoeltje kunt maken. De montage vereist wat meer tijd dan de standaard leertoren waarover je hierboven las. Da komt omdat je bij het 2-in-1 model ook scharnieren en slipjes moet bevestigen. Toch moet het je eenvoudig lukken met de duidelijk montagehandleiding die je erbij krijgt. Hieronder leggen we uit hoe de montage van de 2-in-1 leertoren in z’n werk gaat. Hier vind je de volledige handleiding van de Jindl 2-in-1 leertoren.

Dit zit er in het pakket

Ook het 2-in-1 model wordt als relatief klein pakketje geleverd. In totaal krijgt je 11 houten onderdelen, twee scharnieren, vier setjes met klipjes om de verschillende delen aan elkaar te klikken en in totaal 3 verschillende soorten schroeven. Dit zijn: 

  • 22 schroeven om de houten delen aan elkaar te bevestigen
  • 12 schroeven om de scharniertjes te bevestigen
  • 20 schroeven om de klipjes te bevestigen

Zoals je ziet moet je bij dit 2-in-1 model heel wat meer schroeven aanbrengen. Daar doe je dus vanzelfsprekend wat langer over. Op de meegeleverde handleiding staat overigens precies welke onderdelen je op welk moment het best kunt monteren. Als je deze raadpleegt, kan het bijna niet fout gaan.  

Stap 1 van de montage - de bovenkant

De 2-in-1 leertoren monteer je in verschillende delen. Eerst de bovenkant en dan de onderkant. De bovenkant is stap 1 van de montage. Houd de zijpanelen van de bovenkant op de kop en schroef de de plankjes en de ronde stang vast. Ook hierbij geldt: eerst één zijde half vastschroeven en vervolgens de andere zijde ook. Dan op een vlakke ondergrond zetten en alle schroeven aandraaien. 

Leertoren montage bovenzijde

Stap 2 van de montage - de onderkant

Het monteren van de onderkant is stap twee van de montage. Dit werkt hetzelfde als bij stap 1. Je maakt nu echter gebruik van andere onderdelen. Je kunt schroeven met de inbussleutel of een schroefmachine. 

Montage leertoren onderzijde

Stap 3 van de montage - de scharnieren

Een belangrijk onderdeel van de montage is het bevestigen van de scharniertjes. Hierbij moet je goed opletten dat je de kortste schroefjes gebruikt. Deze mogen namelijk niet te lang zijn, anders schroef je door het tafelblad heen. Bij de montage van de scharnieren is het belangrijk dat je beide delen heel stevig tegen elkaar aanzet. Dan passen de scharnieren goed in het daarvoor aangegeven gedeelte. Druk beide delen stevig tegen elkaar, leg de scharnieren erin en schroef ze vast. Zo sluiten beide delen mooi aan. 

Montage scharnieren

Stap 4 van de montage - de klipjes

Tot slop monteer je de klipjes met schroeven (20) met een platten kop. We hebben hiervoor minuscule gaatje voorgeboord. Dit zorgt ervoor dat je de klipjes eenvoudig op de juiste plek kunt bevestigen. Kijk uiteraard wel even goed in de handleiding hoe het precies moet komen te zitten. 

Montage klipjes

Heb je alle stappen uitgevoerd? Dan kun je genieten van de mooie leertoren. We horen ook graag wat je van de montage vond! 

Montage leertoren Jindl inklapbaar en verstelbaar

De inklapbare en verstelbare leertoren van Jindl vergt een net wat andere aanpak met de montage. Maar ook bij dit model geldt: volg de stappen en het gaat je zeker weten lukken! Hier vind je de volledige handleiding van de inklapbare en verstelbare Jindl leertoren.

Dit zit er in het pakket:

Inhoud pakket leertoren inklapbaar en verstelbaar

Stap 1 van de montage - het plateau

Tijdens de eerste stap neem je het platform (E) en schroeft daar de vier schroeven (O) in. Hiervoor kun je de inbussleutel (L) gebruiken of een schroefmachine op lage stand. 

Montage leertoren inklapbaar en verstelbaar stap 1

Stap 2 van de montage - de stangen

Bij stap 2 neem je de H en I en bevestigt deze tussen de zijden (D). Mt de schroeven (M) schroef je de korte stang (I) vast. De langere stang steekt wat uit. Dat hoort zo. 

Montage Jindl leertoren verstelbaar en inklapbaar stap 2

Stap 3 van de montage - de poten

Met 4 schroeven (M) schroef je de onderdelen G(2x) en (E) vast aan (A1) en (A2). Plateau (M) is in hoogte verstelbaar. Je kunt er in deze stap voor kiezen welke hoogte het plateau in de beginstand gezet wordt. 

Montage Jindl leertoren verstelbaar en inklapbaar stap 3

Stap 4  van de montage - Poten (2)

Schroef onderdeel (J) en (F) vast aan (B1). 

Montage Jindl leertoren verstelbaar en inklapbaar stap 4

Stap 5  van de montage - samenvoegen

In deze stap schroef je onderdeel B2 vast. Onderdeel (J) kun je in de daarvoor bestemde openingen duwen. Dit zorgt voor extra stevigheid. 

Montage Jindl leertoren verstelbaar en inklapbaar stap 5

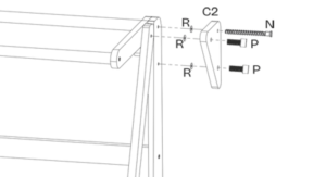
Stap 6  van de montage - klaar

Neem onderdeel (C2) en schroef met schroeven (N) en (P) het zijpaneel vat aan de zijkant van de leertoren. Vergeet de ringen (R) niet! Herhaal deze stap aan de andere zijde. 

Montage Jindl leertoren verstelbaar en inklapbaar stap 6

En nu kun je genieten van je leertoren!

Nog vragen?

Kom je er toch niet uit? Check altijd eerst de volledige handleiding van onze leertorens. Lukt het dan nog niet, dan staan we voor je klaar. Wij helpen je graag verder!

LEERTORENS VAN JINDL

Houten montessori leertoren Jindl® 2-in-1 houtkleur

Original price was: € 149,00.Current price is: € 139,90.

Houten montessori leertoren Jindl® 2-in-1 zwart

Original price was: € 149,00.Current price is: € 139,90.

Houten montessori leertoren Jindl® houtkleur

Original price was: € 129,90.Current price is: € 118,90.

Houten montessori leertoren Jindl® zwart

Original price was: € 129,90.Current price is: € 118,90.

Houten montessori leertoren Jindl® 2-in-1 wit

Original price was: € 149,00.Current price is: € 139,90.

Houten montessori leertoren Jindl® 2-in-1 grijs

Original price was: € 149,00.Current price is: € 139,90.